Feb 23 i have an old modine gas heater hanging in my garage. Variety of modine unit heater wiring diagram.
Modine Gas Unit Heater Infrared Burner Low Intensity 1 Phase
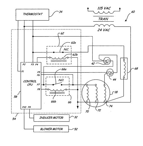
Modine heater wiring diagram. Variety of modine unit heater wiring diagram. It shows the parts of the circuit as streamlined forms and also the power and signal connections in between the devices. Wiring a modine heater will require you to run an 120 volt electrical wire from a power source to the heater and a low voltage thermostat wire from the thermostat to the heater. It reveals the elements of the circuit as streamlined shapes and the power as well as signal connections between the tools. September wiring diagrams gas fired power vented and separated combustion unit heaters for models hdhdb hdshdc ptsbts ptc. Wiring diagram selection diagrams are readily identified in the page location index on the following page.
Select power code number from. A wiring diagram is a simplified conventional photographic representation of an electrical circuit. These heaters burn natural gas which heats up a component known as a heat exchanger. This allows for the correct wiring diagram to be selected using the model size and power code of the unit heater. Select the correct wiring diagrams as follows. This kind of picture modine pdp300ae0130 pdp 300000 btu.
It shows the elements of the circuit as simplified forms as well as the power as well as signal connections in between the devices. Pv series heater pdf manual download. Bv series pv 30 pv 50 pv 75 pv 100 pv 125 pv 145 pv 175 pv 200 pv 250 pv 300 pv 350 bv 30 pv 400 bv 50 bv 75 bv 100 bv 125. A fan blows air across the heat exchanger and as a result the air warms. December 23 2018 by larry a. Determine unit heater model and size.
Modine resources are available to provide customer assistance in operating servicing and maintaining your modine products. Through the thousand images online with regards to modine heater wiring diagram we picks the very best series together with best quality only for you and this images is usually one among photos choices within our greatest photographs gallery in relation to modine heater wiring diagrami really hope youll think its great. View and download modine manufacturing pv series wiring diagrams online. April wiring diagrams models pdpbdp gas fired unit heaters diagram selection diagrams are provided for both single and three phase. Ba august 1974 gas fired unit heaters wiring diagrams a models pa ba manufactured after 111977 before 91984 gas fired unit heaters wiring diagrams b models pa ba gas fired unit heaters wiring. A wiring diagram is a streamlined traditional pictorial representation of an electrical circuit.
A wiring diagram is a streamlined conventional photographic representation of an electrical circuit. Wellborn collection of modine gas heater wiring diagram.















