For information on other quality miller products contact your local miller distributor to receive the latest full line catalog or individual specification sheets. Bobcat 250 efi model shown.

Dial Arc 250
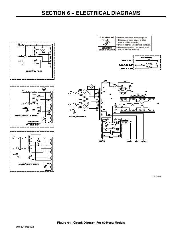
Miller bobcat 250 wiring diagram. Miller electric manufactures a full line of welders and welding related equipment. Miller electric manufactures a full line of welders and welding related equipment. View and download miller bobcat 250 nt owners manual online. Company bobcat the company manufacturer of agricultural and construction equipment based in north dakota usa. Miller electric manufactures a full line of welders and welding related equipment. To locate your nearest distributor or service agency call 1 800 4 a miller or visit us at.
To locate your nearest distributor or service agency call 1 800 4 a miller or visit us at. More fuel efficient with efi easier to maintain gas or lp engine driven bobcat welderac generator 225 and 250 quick specs miller electric mfg. For information on other quality miller products contact your local miller distributor to receive the latest full line catalog or individual catalog sheets. Page 2 welding process manuals such as smaw gtaw gmaw and gmaw p. Plug wired for 120240 v 3 wire load current available in amperes when wired for 120 v loads each 240 v each 120 v duplex duplex receptacle. Miller electric manufactures a full line of welders.
Page 2 iso 90012000 quality system standard. Originally called melroe manufacturing company and the name bobcat first sounded in 1962 the so called one of the models of the loader. 2 wire load or a 120240v 3 wire load. The most popular weldergenerator in the industry the bobcat is. The popularity of the enterprise was mainly due to the first mini loader which was. Miller electric manufactures a full line of welders and welding related equipment.
Bobcat 250 nt inverter pdf manual download. Engine driven welding generator. To locate your nearest distributor or service agency call 1 800 4 a miller or visit us at. Particular model are also provided. Llc an itw welding company 1635 west spencer street po. For information on other quality miller products contact your local miller distributor to receive the latest full line catalog or individual specification sheets.
Wire and tig processes.